20-mm-Waffenwanne

(auf den Seitengängen)

splinter shield for 20-mm-AA-gun OERLIKON

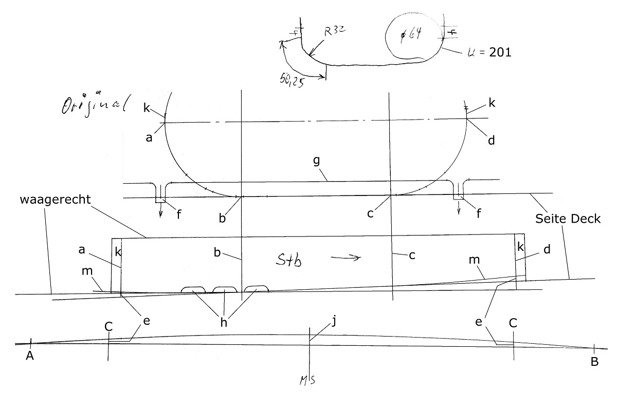
Etwa auf halber Schiffslänge stehen auf den Seitengängen je zwei 20-mm-Flak OERLIKON Mk10, umgeben von Waffenwannen (Schanzkleidern). Ihre Oberkanten sind vollkommen waagerecht, die Unterkanten folgen Deckssprung und Balkenbuch. Somit muß man eine stimmige Abwicklung konstruieren, bevor man sie gewölbt, wie beim Original biegen kann.

(alle kleinen Fotos durch Anklicken vergrößern) Das Foto zeigt die Konstruktion der Abwicklung. In der Draufsicht zeigt a, b, c bis d die Waffenwanne. Zur Mitte hin überragen die Bereiche k die Mitten der Geschützstände um 4 mm. Die gewölbten Stücke ab und cd sind errechnete 50,25 mm lang. (g) ist die 1 mm hohe Leiste, an welche die Relingnetze angebunden werden. In bestimmten Abständen führen Abflüsse (f) z.B. Regenwasser nach außenbords. In der Mitte sieht man die konstruierte Abwicklung. Unten habe ich die Balkenbuchzeichnung gemacht. Von A bis C und von C bis B reichen hier die Wannen. Dabei ergeben sich die Höhen (e), welche wir bei der Abwicklung wiederfinden. (m) ist die Unterkante der Abwicklung. Von (b) bis (c) ist es eine nahezu gerade Linie. In dieser Zeichnung sind a, b, c und d die sog. Lichtkanten. Hier beginnen bzw. enden die Rundungen. (h) sind drei Speigatts am tiefsten Deckspunkt. Hier sollen überkommene Seen schnell ablaufen können.

Diese Abwicklungskonstruktion in Modellgröße (1:50) habe ich einmal in Normalansicht und einmal seitenverkehrt kopiert, mit etwas Übermaß ausgeschnitten und mit UHU-Alleskleber auf 0,2-mm-Ms-Blech geklebt. In gleicher Faserrichtung (auch Blech hat eine Faserrichtung - wenn man genau hinsieht) habe ich einen Streifen für eine Biegeprobe abgeschnitten.

Mit der Papierschere habe ich diese Stücke in gewohnter Weise ausgeschnitten.

Danach wurde die Zeichnung abgezogen (UHU-Alleskleber pappt auf Metall nur!) und die Seiten und Vorausrichtungen aufgeschrieben.

 An der Unterkante haben diese Bleche Wasser-Ausflußöffnungen. Ich hätte sie mit kleinen Schleifkörpern (Durchmesser 5 mm) einschleifen können - mühselig! Ich habe mich für das auch genauere Fräsen mit einem 5-mm-Fingerfräser entschlossen. An ein Messingstück wurde eine flache Anlegestufe gefräst und bereits der Kanal in der richtigen Länge vorgefräst.

 Nacheinander wurden die Bleche an die Stufe angelegt und so festgeklemmt. Die Einfräsungen konnten so sauber ausgeführt werden.

Hier ist der Klemmbalken weggenommen.

Das Ergebnis: saubere Einfräsungen. Mit einem Fine-Liner werden die Lichtkanten aufgezeichnet, damit man eine gute Kontrolle hat, wo die Rundung beginnen muß.

Als nächstes muß ein Rundungskörper gedreht werden. Nach dem Biegen um diesen und nach unvermeidlichen Auffedern muß die Biegeprobe exakt einen Durchmesser von 64 mm haben! Es ist kein Fehler, wenn man dieses Teil zum Ende zu in 0,5-mm-Schritten kleiner dreht und jedes Mal wieder neu eine Biegeprobe macht. Im Bild ist die Biegeprobe aufgelegt. Wichtig ist die angedrehte Anlegekante, an welche die Oberkante der Bleche angelegt wird - damit rechtwinklig gebogen wird!

Nach dem Biegen haben die Schanzkleid-Bleche die richtige Form.

  Und an Bord vorläufig aufgestellt, sieht das so aus.

 Etwa in halber Höhe haben diese Schanzkleider außen angeschweißte Versteifungs-"Spanten". Mit der Metall-Laubsäge habe ich die aus 0,3-mm-Ms-Blech ausgesägt. Und damit ich diese ohne Probleme anlöten kann (beim Modellbau schaltet man alle Probleme aus), habe ich zwei Formkörper aus MDF gedreht...

...die mit M3-Schrauben an einer Faserplatte befestigt wurden. So konnte ich das gebogene Schanzkleid mit zwei Drahtbindungen daran "festschnallen" - mit der ebenen Oberkante nach unten aufsitzend. Damit rundum die gleiche Höhe beim Anlöten gesichert ist, habe ich eine 11 mm hohe Auflage aus Pertinax gefräst. Auf dieser liegt der 2,5 mm breite Blechstreifen beim Löten auf.

Danach sauber verputzt und umgekehrt sieht das so aus. Vorn Stb., hinten Bb.

An die Oberkante kommt wieder eine Rohrgarnierung (0,8-mm-verzinnter-Kupferdraht). Die "Reiter" für das richtige Anlöten und die Arbeitsweise damit, kennen Sie schon. Selbstverständlich muß man zwei getrennte, und um einen Rundungskörper gebogene Drahtstücke anlöten. Nur mit einem geht das nicht. Die Blech-OK muß wegen den Reitern leicht nach oben herausstehen.

An Deck sieht das nun so aus. Im Hintergrund sind die beiden Sockel für die 20-mm-OERLIKON zu erkennen. Mit je vier innen unten angelöteten 0,4-mm-Stiften werden diese Blechwände nach der Spritzlackierung in Bohrungen im Deck eingegossen.

 Für die 16 Schanzkleidstützen habe ich ein nicht zu kurzes Profil mit 5° konischem Querschnitt gefräst und davon mit einer 0,4-mm-Metallkreissäge 0,3 mm dicke Scheiben abgeschnitten. Im Bild sind sie an der Innenseite angeklebt (Sekundenkleber). Damit die Wand dabei richtig auf dem Deck steht, wird sie von Gewichten belastet. Jede Stütze hat natürlich eine andere Länge (Höhe). Sie wurden unten abgekürzt. Die Stützen stehen im Winkel zu KWL, nicht zum Deck!

Hier werden 2,5 mm breite 0,2-mm-Ms-Blechstreifen als Versteifungen an die Kanten geklebt (2-K-Kleber "UHU endfest 300").

Nahaufnahme davon. Der Riegel rechts und der 2-mm-Rundstab links liegen dort, damit die Blechstreifen während der Kleber-Härtezeit (bei UHU endfest 300 viele Stunden!) nicht "wegdrehen".

Das Bild zeigt beide Seiten. Der Kleber hat über Nacht Zeit zu härten.

 Etwa 45° schrägstehende Startrohre für Raketen (Gefechtsfeldbeleuchtung).

Und zwei Kästen für irgend etwas (Werkzeug, Putzlappen, Waffenöl...?).

 Für die Befestigung von vier weiteren Raketen-Startrohren benötige ich acht Haltebleche. Im Senkrecht-Teilgerät wird ein kurzes Profil gefräst. Der Querschnitt ist 2 x 10° konisch! Die Breite 6mm.

Ein 2,4-mm-Erleichterungsloch wird mittig gebohrt.

0,3 mm dicke Scheiben werden davon abgesägt.

Rechts liegen zwei der vier Startrohre, Durchmesser 4 mm, Länge 22 mm. Am unteren (rechts) Ende haben sie innen M2-Gewinde. Dazu wird ein Haltedorn (links) gedreht. Für die Montage am Schanzkleid wird dieser Dorn in das Startrohr geschraubt und so kann dieses Teil mit der "Senkrecht-Haltevorrichtung" angeklebt werden.

In einer Nahaufnahme sieht das so aus. An der Unterkante vom Schanzkleid erkennt man hier einen Lichtspalt. Dieser verschwindet bei der Endmontage, wenn dieses unter Belastung mit den Haltestiften an das Deck geklebt wird. Die gerundet abgewinkelten, 1 mm hohen Blechstreifen an der Bildunterkante sind Öffnungen, durch welche z.B. Regenwasser vom Deck ablaufen kann. Derartige Öffnungen gibt es zahlreiche an der Deckskante vom Hauptdeck.

 028

zurück/back  |  home