Imitation von Zahnrädern und Schneckengetrieben beim Modellbau

 

Beim Modellnachbau von Decksmaschinen, Waffen, Bootsaussetzvorrichtungen, Scheinwerfern und Ähnlichem steht der Schiffsmodellbauer häufig vor der Aufgabe, offenliegende Zahnräder, Zahnbögen, Kegelräder oder Schneckenradgetriebe vorbildgetreu darzustellen. Wie weit man die Detaillierung oder Imitation, letzteres oft Stilisierung genannt, treiben will, hängt von der Größe dieser Maschinenelemente vor allem aber auch vom Maßstab und von der persönlichen Einstellung des Modellbauers zu seinem Hobby ab. Für einfache Stirnzahnräder in kleinerem Maßstab, etwa M 1:100, genügt es oft, wenn man sie nur als flache Scheiben dreht. Bei größeren kann man in diesem Maßstab gegebenenfalls Profilierungen, Durchbrüche oder Erleichterungsbohrungen mit bauen, die Zahnung selbst wird man kaum darstellen. Doch schon beim Mittelmaßstab 1:50 und bei großen Originalrädern kann man auf die Darstellung der Zahnung kaum verzichten – soll es wirklich gut aussehen. Zwingend notwendig ist die Darstellung der Verzahnung bei großen Maßstäben (M 1:33 und größer).

Will man vorbildgetreu bauen, versucht man alles, was der Zeichner des Modellplans „vorgegeben“ hat, bei seinem eigenen Modellbau maßstäblich umzusetzen. Das ist die besondere Herausforderung, aber auch das Schöne bei unserem Hobby. Die in diesem Beitrag behandelten Elemente dürfen davon nicht ausgenommen werden. Wenn ich mir auf Ausstellungen die Modelle ansehe, erkenne ich, daß sich die Modellbauer gerade bei diesen Dingen oft recht „schwer tun“. Ich möchte deshalb hier einige Hilfestellungen geben, wie man die Nachbildung von Zahnrädern, Ritzeln, Zahnbögen aber auch Schneckenradgetrieben für ein gutes Aussehen bewerkstelligen kann.

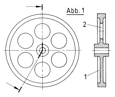
Beginnen wir mit den Zahnrädern, mit einfachen, gerade verzahnten, den sog. Stirnzahnrädern. Dreht man, wie eingangs erwähnt, nur Scheiben, so sollten sie die richtigen Außendurchmesser und Breiten haben. Die Nabe ist oft länger als die Breite oben bei den Zähnen. Zur Gewichtseinsparung haben größere Räder oft einseitige oder auch beidseitige „Einstiche“ (1 in Abb. 1 ) oder auch Durchbrüche (2). Diese soll man auch beim M 1:100 darstellen. Solche „Scheiben“ läßt man aber nicht einfach aneinanderstoßen, der Abstand der Achsmitten wäre zu groß. Von beiden muß man Abschnitte abfeilen (besser fräsen), die bei etwa gleich großen Rädern so breit wie die Zahn-Höhe sind (Maß 3 in Abb. 2 ). Die Zahnhöhe muß man natürlich kennen. Wie auch immer, das Maß 4 muß an beiden Rädern gleich groß sein. So aneinandergefügte Zahnradscheiben haben den richtigen Achsenabstand (Maß 5 in Abb. 3 ). Bei komplizierten Getrieben mit mehreren Wellen und mehr als zwei Rädern kommt man um eine Vergrößerungszeichnung im gut umzurechnenden Maßstab 10:1, in welcher vor allem die Achsabstände und die Lage der Achsen „im Raum“ genau dargestellt sind, nicht herum. Dafür verwendet man am besten Millimeterpapier. Das Zurückrechnen in den Modellmaßstab geschieht danach einfach durch Teilung der Zeichnungsmaße durch 10.

Wie wohl jeder Schiffsmodellbauer sammle auch ich Zahnräder. Zahnräder in Uhren sind für ein schönes Aussehen meist zu flach, ihre Planflächen haben zahlreiche körnerartige „Einstiche“, die vom sog. Punktplanieren herrühren. (Punktplanieren steckt z.B. ausgestanzte Blechteile so, daß sie danach vollkommen eben sind, so wie die beiden Planierplatten selbst auch!) Auch die Zahnform ist oft nicht so, wie man sie von Rädern aus Maschinen gewohnt ist. Sie sind oft viel zu spitz. Sie haben aber den Vorteil, daß sie meistens aus Messing sind, einem Material, das sich gut z.B. durch Drehen bearbeiten aber auch löten läßt. Eine Quelle für schönere Zahnräder tut sich mit elektronischen Geräten und ähnlichem auf. In ihnen findet man oft Unmengen von Rädern, breit genug und mit schönen Modul-Zahnformen. Ich gebe keinen Drucker, Scanner und der gleichen einfach in den Sperrmüll. Ich nehme diese Geräte vollkommen auseinander, um Zahnräder, kleine Federn, Wellen, Schrauben, Muttern usw. zu finden, aber auch, um ihre Funktion wenigstens teilweise zu ergründen. Irgendwann werden die Zahnräder einmal gebraucht oder ein Teil davon (wir sprechen weiter unten davon). Sich beim Modellbau nun aber voll auf diese Zahnradsammlung zu verlassen, wäre der falsche Weg. Selten findet man ein exakt passendes Rad.

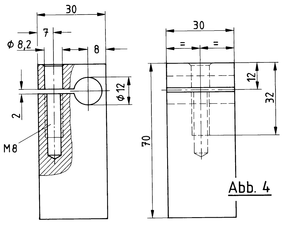
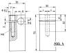
Schöner und interessanter ist es, macht man das Zahnrad, so wie es der Modellplan zeigt, in den richtigen Dimensionen selbst. Die Zahnteilung, also die Anzahl der Zähne, kann man eigentlich nur mit einem Teilgerät realisieren und die Zähne selbst im Normalfall nur auf einer Fräsmaschine fräsen. Ein recht einfaches Teilgerät kann man selbst bauen. Ich mache dazu hier einen Bauvorschlag und es ist auch durchaus möglich, daß man eine stilisierte Zahnung auch auf der Drehmaschine herstellt – ganz ohne Fräsmaschine. Für das Teilgerät wird ein Grundkörper nach Abb. 4 (kleine Bilder/Fotos anklicken) von einem Abschnitt aus 30 x 30 mm Vierkant-Stahlstab angefertigt. Die Stirnseiten müssen nicht überfräst werden, denn der Block wird stehend im Maschinenschraubstock gespannt. Damit ist die exakte Senkrechtstellung in der einen Richtung schon gegeben und die zweite Richtung wird mit einem Winkel gegen die Schraubstockbacken senkrecht ausgerichtet. Die Bohrung Ø 12 kann einfach gebohrt werden. Besser ist es allerdings, wenn man sie reibt oder auf einer Planscheibe ausdreht. Der Schlitz wird mit einer Bügelsäge nach dem Bohren eingesägt. Die Bohrung M8 ist für eine Klemmschraube vorgesehen.

Die Teilspindel kann man verschieden geformt herstellen: mit einem Feingewinde am Kopf zur Aufnahme eines kleinen 3-Backen-Futters (A in Abb. 5 ). Mit einem Backenfutter hat man universelle Spannmöglichkeiten für die Werkstücke. Die Variante nach B hat im Kopf ein M8-Innengewinde. Hier kann man auswechselbare Messing-Einsätze einschrauben, auf welche z.B. die Zahnrad-Rohlinge vorübergehend aufgelötet sind (Abb. 6 ). Ich muß nicht erwähnen, daß man bei der Herstellung all dieser Drehteile auf besten Rundlauf achten muß, will man Freude am Arbeitsergebnis haben. Wie man sehr gut rundlaufende Teile herstellt, habe ich in meinem Büchern „Drehen für Modellbauer“ Band 1 und 2 (VTH-Best.-Nrn. 310 2113 und 310 2114) genau erklärt. Der kleine Zapfen Ø 1 soll nur die Zentrierung des Rades auf der Teilspindel geben. Die 1-mm-Bohrung im Rad kann nach dem Fräsen der Zähne auf den eigentlichen Wellendurchmesser aufgebohrt werden. Mit der ausgebauten Teilspindel kann man in beide Stirnflächen des Zahnrades (nach dem Umlöten) gegebenenfalls Planeinstiche (vgl. Abb. 1) eindrehen. Die Teilspindel fungiert hierbei als Drehdorn.

Nach Abnahme der Teilscheibe und Lösen der M8-Klemmschraube kann die Teilspindel jederzeit nach vorn aus dem Grundkörper gezogen werden. Auf den Absatz Ø 8 x 4 werden die Teilscheibe/Teilscheiben gesteckt. Im einfachsten Fall genügt eine 5 mm dicke, gedrehte Scheibe aus Sperrholz. Mit einer (übergroßen) Unterlegscheibe und einer M6-Mutter wird sie bei geklemmter Teilspindel festgezogen. Den Außendurchmesser der Holzscheibe dreht man auf einem Drehdorn, damit er rund läuft. Die Teilscheibe für unser Einfach-Teilgerät bekommt keine Teilungsbohrungen. Vielmehr bekommt sie auf dem Umfang einen Papierstreifen aufgeklebt, welcher die gewünschte Teilung hat. Ich möchte es an einem Beispiel erklären: Wir wollen ein Zahnrad mit 34 Zähnen fräsen. Ein 5 mm breiter und 170 mm langer Papierstreifen erhält z.B. in 5-mm-Abständen Querstriche (34 x 5 = 170). Der Durchmesser der Holzscheibe sollte, errechnet, dann 54,140127 mm sein (170 : 3,14 = 54,140127). Macht man die Strichabstände größer als 5 mm, so wird alles genauer, die Scheibe aber auch größer (oder umgekehrt ungenauer). In der Praxis würde ich die Holzscheibe erst auf Ø 54,5 vordrehen und dann mit feinsten Spänchen so lange kleiner drehen, bis man den Papierstreifen um den Umfang wickeln kann, damit dessen Enden aneinanderstoßen. Danach würde ich sie noch etwa 0,1 mm kleiner drehen. Denn wir wollen den Papierstreifen nun festkleben und der Kleber benötigt ja auch seinen Platz…

In dem Zusammenhang möchte ich auf etwas hinweisen, was ich an anderer Stelle schon zum Bau eines Direkt-Teilgerätes vorgeschlagen hatte. Kürzen Sie ein möglichst dünnes 500-mm-Stahllineal auf genau 360 mm Länge. Dieses Band kleben (die Enden notfalls auch mit kleinen Schrauben sichern) sie auf eine ausreichend breite (Breite der Stahllineals) Scheibe vom Ø 114,64968 (360 : 3,14 = 114,64…., siehe oben). Auf diese elegante Weise haben Sie eine Teilscheibe mit genauer 360°-Teilung…

Da die Herstellung einer Sperrholz-Teilscheibe mit aufgeklebter Papierstreifen-Teilung eine einfache Sache ist, kann man sich schnell alle gewünschten Teilungen selbst schaffen. Selbstverständlich auch eine Scheibe für die Herstellung der üblichen Teilungen: 3, 4, 6, 8, 9, 10, 12, 15, 20, 24 usw. Sie sind nie so genau wie (auf Teilgeräten) gebohrte Teilscheiben, aber für viele Zwecke, wie z.B. für unsere Zahnrad-Imitationen durchaus zu gebrauchen.

Unser Teilgerät erhält folglich auch keinen Indexstift, sondern nur einen auf dem Maschinentisch fest angebrachten (Magnetständer?) Zeiger. Gegen diesen Zeiger wird die Teilspindel von Strich zu Strich auf dem Papierstreifen weitergedreht. Vor dem Festziehen der M8-Klemmschraube drückt man die Teilspindel immer mit dem Bund Ø 16 x 5 gegen den Grundkörper. Wer sich das Ausrichten des Grundkörpers im Maschinenschraubstock sparen will, kann unten eine Ausrichtstufe anfräsen (Abb. 7 ). Mit der Stufe sitzt der Grundkörper auf der festen Schraubstockbacke auf.

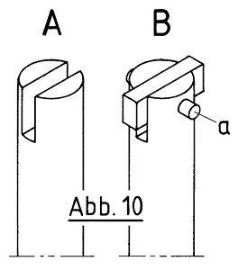
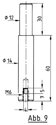
Die gesamte Vorrichtung mit dem aufgelöteten/aufgeschraubten Zahnrad sieht nach Abb. 8 aus. Das Fräsen der Zahnlücken könnte beginnen - hätten wir schon den Fräser dazu. Auch diesen machen wir ganz einfach und ohne viel Aufwand selbst. Wir schaffen uns einen einschneidigen sog. Schlagzahnfräser, dessen Dorn man z.B. im Bohrfutter der Frässpindel spannen kann. Dieser muß nicht 100% rundlaufen. Die Abb. 9 ist ebenfalls, wie beim Teilgerät, ein Vorschlag, dessen Maße man ändern kann. Er wird aus 14-mm-Rundmessing gedreht. Unten erhält er eine 4 mm breite und 12 mm tiefe Querfräsung (Abb. 10 A ). Dann wird hier ein Messingriegel 6 x 4 x 16 mm weich eingelötet und bestenfalls noch mit einem Ms-Querstift (a) gesichert (B). Die überstehenden Stücke werden auf den Ø 14 abgedreht. Von unten wird nun eine M4-Bohrung für die Klemmschraube eingebracht. Der Dorn ist fertig.

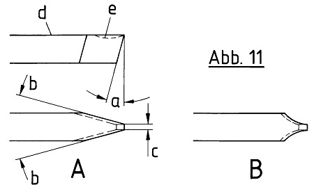
Den Fräser-Einsatz schleifen wir aus einem HSS-Drehling 4 x 4 mm nach Abb. 11 A . Im Grunde sieht er wie ein Mini-Stechstahl für eine Keilnut aus. Auf ausreichende Freiwinkel nach „unten“ (a) ist zu achten. Der Spitzenwinkel (b) richtet sich danach, ob wir eine Zahnstange (auch das ist möglich), eine Zahnrad mit großer Zähnezahl oder nur ein Ritzel mit wenigen Zähnen fräsen wollen. Beim kleinsten Ritzel ist dieser Winkel am größten. Die Breite (c) gibt die Breite vom Zahngrund. Sie entspricht in etwa der Breite vom Zahnkopf und ist verständlicherweise bei sehr kleinen Zähnen winzig. Ich habe in diesen Fällen immer zuerst den Spitzenwinkel (b) als vollkommenen „Spitzstahl“ geschliffen und erst zum Schluß sehr vorsichtig die Breite (c) angeschliffen. Das Maß für die Breite (c) habe ich an einer Feinmeßschraube eingestellt und so die Breite mit einer Kopflupe im Gegenlicht geprüft. Einen Schlagzahn-Einsatz zu schleifen, damit er eine richtige Rundung der Zahnflanken ergibt, wird man nur bei größeren Zahnrädern tun (Abb. 11 B). Bei unseren winzigen Zahnrädern sind gerade, also falsche Zahnflanken als solche kaum zu erkennen. Weil die Spanfläche (d) „oberhalb“ der Fräsdornmitte liegt (das ergibt einen negativen Spanwinkel) soll man beim Fräsen von Messing-Zahnrädern, das wird die Regel sein, vor dem Schleifen der Freiwinkel (!) eine geringe Spanrille einschleifen. Die Abb. 12 A verdeutlicht das Problem. Fräst man Zahnräder aus langspanenden Werkstoffen (Plaste, Alu, Stahl) muß diese Rille sogar etwas tiefer eingeschliffen werden (Abb. 12 B), weil diese Werkstoffe einen Spanwinkel (β) benötigen.

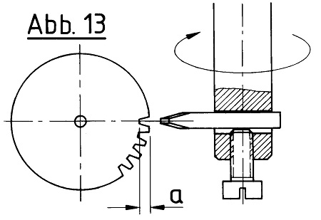
Der Einsatz wird im Fräsdorn mit der M6-Schraube geklemmt. Abb. 13 verdeutlicht das Fräsen des Zahnrades. Die Mitte des Schlagzahn-Einsatzes ist in Höhe der Teilspindel-Achse eingerichtet. Die Zahntiefe (a) wird beim Fräsen der ersten Zahnlücke einmal eingestellt, dann wird der Tisch in dieser Richtung geklemmt und alle Zahnlücken werden in jeweils einem Durchgang durch Verfahren vom Längssupport gefräst. Man muß dabei bedenken, daß ein Schlagzahnfräser mit nur einer Schneide nicht die Leistungsfähigkeit eines vielschneidigen echten Modul-Fräsers hat. Entsprechend geduldig muß man den Frästisch in der Richtung der Teilspindel-Achse verfahren. Ist das Rad rundum fertig gefräst, wird mit einer kleinen rotierenden Drahtbürste der Fräsgrat entfernt und u.U. die Planeinstiche eingedreht, kann man es vom Messingdorn (Abb. 6) ablöten und die Mittenbohrung in einer Spannring-Spannung (vgl. Abb. 20) auf den Enddurchmesser aufbohren/ausdrehen.

Erinnern möchte ich daran, daß man durchaus mehrere Zahnräder, hintereinander auf einen Dorn gespannt, in einem Arbeitsgang fräsen kann. Ebenso wäre es denkbar, zuerst ein recht langes Zahnprofil-Stabstück zu fräsen, von dem man danach mehrere Räder mit einem scharfen Abstechstahl abstechen kann. Für das Fräsen von Ritzeln mit einem kleinen Außendurchmesser kann man sich u.U. eine spezielle Teilspindel mit einer Klemmring-Spannung nach Abb. 14 für ähnliche Fälle drehen. Das vordere Stück mit dem Durchmesser 8 mm ist viermal kreuzweise geschlitzt, vor allem innen sehr sauber entgratet und man arbeitet mit ihm so wie mit einer Spannzange auch: in die geriebene 6-mm-Bohrung darf nur stranggezogenes Rundmaterial (Schnittkanten sorgfältig entgraten) vom Nenndurchmesser 6 mm gespannt werden. Die vier Klemm-Gewindestifte (Innensechskant) werden beim Spannen rundum gleichmäßig angezogen. Am vorderen Ende des 6-mm-Materialstücks wird dann das Ritzel angefräst und später abgestochen. Bei unserem Nenndurchmesser der Teilspindel von 12 mm kann man die 6-mm-Bohrung auch 8 oder 10 mm ausreiben. Das geschlitzte Klemmstück ist dann jeweils 2 mm größer zu machen.

Will man ineinandergreifende Zahnräder am Modell gut darstellen, braucht man auch einige Grundkenntnisse über die Geometrie dieser Antriebselemente. Oft sind bei einem Plan nur wenige Zähne dargestellt (das Zeichnen aller Zähne bereitet dem Zeichner ja Schmerzen!); nur die Außendurchmesser sind als Voll-Linie ausgezogen. Dann muß man konstruktiv tätig werden, auch etwas rechnen. Die wichtigste Größe am Zahnrad ist nicht etwa der Außen-Ø (richtig als Kopfkreis genannt, dk in Abb. 15 ). Man rechnet immer mit dem Teilkreis-Ø (do, auch Wälzkreis genannt). Er liegt etwa auf halber Zahnhöhe (hz). Rechnet man 3,14 (pi) x do, ergibt das den Umfang an dieser Stelle. Teilt man diesen Umfang durch die Anzahl der Zähne, ergibt das die Teilung (t), also den Abstand von Zahn zu Zahn. Wir benötigen diese Größe, wenn wir die Zähnezahl für Anschlußräder berechnen wollen. Ein Beispiel dafür: Ein größeres, erstes Zahnrad hat nach Plan einen Außen-Ø von 35,5 mm. Es sind nur ein paar Zähne angedeutet. Man kann aber die Zahnhöhe von etwa 1,5 mm messen. Die Zahnhöhe ziehe ich einmal vom Außen-Ø ab und komme so auf den Teilkreis-Ø 34 mm (35,5 – 1,5 = 34). Als nächstes muß ich das Modul berechnen. Dafür gibt es die Formel Zahnhöhe : 2,166 = Modul. In unserem Beispiel wäre das Modul etwa 0,6925 (1,5 : 2,166 = 0,6925207). Mit der Größe Modul kann ich nun die Zähnezahl für das größere Rad berechnen: do : Modul, also 34 : 0,6925 = 49 Zähne. Für das eingreifende, kleinere Rad kann ich einen Außen-Ø von 21 mm messen. Dieses Rad hat selbstverständlich gleiche Zahnhöhe und gleiches Modul. Ich rechne 21 – 1,5 = Teilkreis-Ø von 19,5 mm. 19,5 teile ich auch durch das Modul 0,6925 und komme so auf die Anzahl der Zähne für das kleinere Rad von 28,158844 Zähnen. Weil dieses ganze Messen aus einem Modellplan heraus ohnehin nur eine ungefähre Sache ist, wer sagt mir denn, ob ich mich bei der Zahntiefe von 1,5 mm nicht leicht vermessen habe, kann ich für das zweite Rad getrost auf 28 Zähne runden.

Für die Modellbauer, welche ein Teilgerät mit einer 360°-Skala haben (siehe oben), ist die Berechnung der Winkelentfernung von Zahnlücke zu Zahnlücke von Bedeutung. Bleiben wir beim Zahnrad von 28 Zähnen. Wir teilen einfach 360° durch 28 und kommen so auf eine Winkelentfernung von 12,857142° (Taschenrechner). Die 360°-Skala wird auf 0 gestellt und die erste Zahnlücke gefräst. Für das Fräsen der zweiten Zahnlücke verdrehe ich die Teilspindel um gerundete knapp 13°. Für das Verdrehen der dritten Zahnlücke muß ich mit dem Taschenrechner rechnen, jetzt aber genau: 12,857142 + 12,857142 = 25,714284, ich verstelle also gerundete knapp 26°. Dann geht es stets rundum so weiter: 25,714284 + 12,857142 = 38,571426. Die vierte Zahnlücke würde bei ≈ 38,5° gefräst und die fünfte bei ≈ 51,5°. Das alles sind nur ungefähre Teilungen, die das Auge als solche jedoch nicht erkennt. Sie genügen aber für eine Zähne-Imitation. Laufen lassen könnte man ein solches Getriebe wohl nicht oder nur langsam! Zahnräder, die laufen sollen, brauchen sehr exakte Zahnabstände, die man nur mit gebohrten Teilscheiben oder mit einem Schneckenrad-Teilgerät (z.B. einen Rundtisch) herstellen kann.

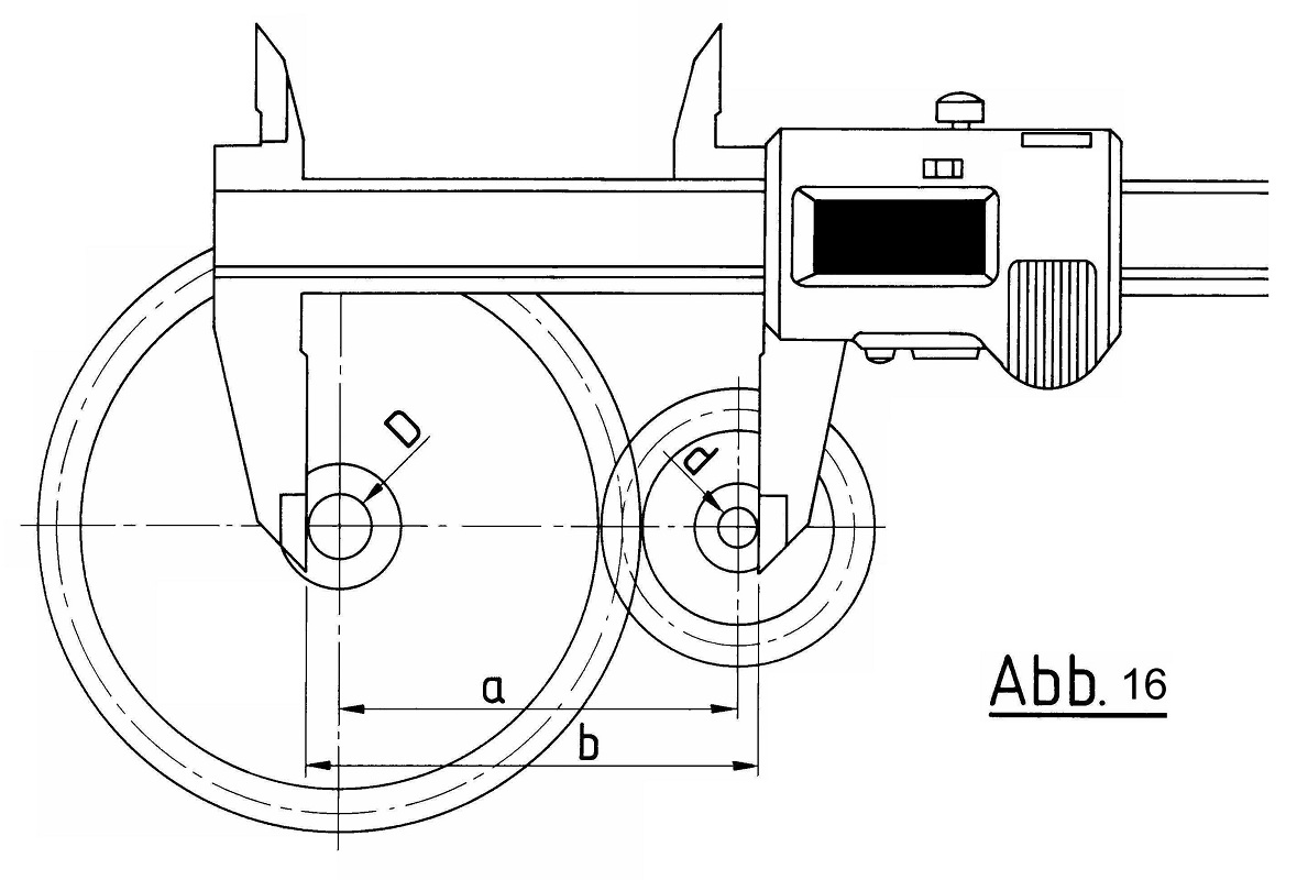
Man hat zwei Zahnräder und möchte für die Herstellung der Getriebe-Platten den Achsenabstand (a in Abb. 16 ) wissen. In die Bohrungen der Räder steckt man genau passende Stifte. Dann läßt man die Räder „kämmen“, also ineinandergreifen. So mißt man das Maß b, ohne die Räder dabei zu verkanten, sie liegen dazu am besten flach auf dem Tisch. D und d zähle ich zusammen, halbiere diesen Betrag und ziehe ihn vom Maß b ab. So erhalte ich den theoretischen Achsenabstand. In der Praxis ist man gut beraten, wenn man, je nach Größe der Räder noch 0,1 bis 0,2 mm dazugibt. Man kann auch zwischen die kämmenden Räder zum Messen einen Streifen Plaste-Folie legen. So ergibt sich etwas „Luft“ von selbst.

Mein alter Feinmechaniker-Arbeitskollege Werner Z. hat stets kleine Zahnräder mit dem Handhebel-Obersupport auf dem Uhrmacherdrehstuhl „gehobelt“. Den Radrohling hat er auf einem Dorn in der Arbeitsspindel aufgenommen; oft sogar mehrere hintereinander. Entsprechend der geforderten Zähnezahl hat er sich eine Alu-Teilscheibe als flachen Ring mit der Anzahl der Bohrungen (Rundtisch!) gefertigt und an der Rückseite der großen Riemenscheibe aufgesteckt. Einen selbstgeschliffenen, winzigen Modul-Hobelstahl, richtig mit angedeuteten Flanken-Rundungen (Lupe!), hat er auf der Seite liegend in Arbeitsspindelhöhe auf dem Obersupport festgespannt. Das Hobeln geschah dann in vielen Stößel-Bewegungen von Hand, jeweils bis zum gleichen Skalenwert der Quersupport-Skala, damit alle Zahnlücken gleich tief wurden. Die Zahnräder liefen tadellos. In Abb. 17 ist dargestellt, wie das auf einer größeren Drehmaschine mit Vierstahlhalter aussehen könnte. Die Stößel-Bewegungen würde man dann mit dem gesamten Bettschlitten ausführen. Bei jeder Bewegung darf man aber nur winzigste Beträge zustellen. Wie man eine Drehmaschinen-Arbeitsspindel als eine der wichtigsten Maßnahmen zur Verbesserung einer Drehmaschine in ein Teilgerät umändern kann, wurde an anderer Stelle schon vielfach erklärt. Interessant noch in dem Zusammenhang: Schon als Lehrling habe ich Keilnuten in Bohrungen von Riemen- und Zahnrädern immer schon auf der Drehmaschine „gestoßen“ (Abb. 18 ). Zu aufwendig war meinem Kollegen Fräser der Aufbau des Stoßkopfes auf die Universal-Fräsmaschine. Als Trainingspartner für das Rennradfahren war er dennoch mein bester Freund!

Sind runde Durchbrüche in Zahnrädern darzustellen (vgl. Abb. 1), lassen sich diese relativ einfach durch Bohren auf einer einfachen (ebenfalls selbst gebauten) Teilvorrichtung mit senkrechter Teilachse darstellen. In der Regel sind Zahnräder Stahlgußteile mit gerundeten Innen- und auch Außenecken. Es sieht gut aus, wenn man die Kanten dieser Durchbrüche mit einem Dreikantschaber von Hand leicht rundet. Das geht bei Messing besonders gut, doch auch bei Alu. Bei Plaste-Teilen hakt der Dreikantschaber gern, wenn man ihn zu „scharf“ also schneidend und nicht schabend ansetzt. Anders geformte Durchbrüche, dreieckige oder Langlöcher sind dann schon eine schöne Rundtischarbeit (vgl. Fräserweg in Abb. 22 ). Übrigens lassen sich abgerundete Kanten fräsen, nicht unbedingt mit einem teueren, gekauften Abrund-Fingerfräser, sondern mit einem selbst hergestellten aus Silberstahl (Foto 1 und meine Bücher).

Oben sprach ich von meiner Zahnradsammlung und davon, daß man selten das Glück hat, hier ein genau passendes zu finden. Man kann aber ein in etwa passendes Zahnrad in ein etwas größeres, vorzugsweise jedoch etwas kleineres verwandeln und somit passend machen. Ebenfalls beinahe nur zur Imitation. Ich finde in meiner „Krabbelkiste“ ein Messing-Zahnrad, die Breite und die Zahnung stimmt etwa, nur der Durchmesser ist etwas zu groß und es ist ein flaches Rad ohne Nabe und Durchbrüche. Nach Plan müßte das Rad nach Abb. 19 aussehen. Mein gefundenes Rad spanne ich nach Abb. 20 in einer Klemmring-Spannung im 3-Backen-Futter. Die mit breiten Linien markierten Flächen (D und a) habe ich zuvor gut rundlaufend und passend zu meinem Zahnrad (es muß gerade so leicht einsetzbar sein) mit einem Eckbohrstahl (spitz geschliffen aus HSS!) ausgedreht. Danach habe ich den Klemmring (Messing oder Alu) nicht mehr in den Futterbacken verdreht und das Zahnrad (b) eingesetzt und das Backenfutter wieder einen winzigen (!) Betrag zugespannt. Das genügt, daß sich das Rad im Klemmring sicher verklemmt, wie der Name schon sagt und daß man das Zahnrad nun ausdrehen kann. Und zwar soweit, daß man bis auf 0,1 bis 0,3 mm an den Grund der Zahnlücken heran dreht. Beim dem Ausdrehen nach Abb. 20 könnte ich sogar die Breite der Zähne schmaler drehen, falls sie zu breit sind. Am Ende habe ich einen schmalen „Blechstreifen“, auf dem sauber die Zähne sitzen (Abb. 21 ). Er ist so beweglich, daß ich ihn gegebenenfalls durch Auflöten auf einen Messing-Stab zu einer Zahnstange machen könnte oder ebenfalls durch Auflöten auf einen vorbereiteten, vorbildgetreuen Radkörper zu einem völlig anderen Zahnrad. Ich fertige also einen Radkörper nach Abb. 22 aus Messing und befestige auf dessen Umfang mit einer leichten Alu-Draht-Bindung meinen Zähnestreifen (gestrichelt). Damit es gut paßt, muß ich den Streifen natürlich vorsichtig kürzen und ihn auch seitlich genau ausrichten. Danach kann ich ihn festlöten (Lötsäure/Spiritus-Waschung danach).

Den umgekehrten Weg kann ich auch tun. Aus zwei vorhandenen kleineren Rädern kann ich die "Zähnestreifen" dafür verwenden, um sie auf ein größeres Rad aufzulöten. Es gibt dann zwei Stoßstellen. Diese soll man so gestalten, daß sich dort eine gleich große Zahnlücke ergibt. Hat man die Zahnstreifen wenige Zehntel-mm breiter als den Radkörper gemacht, kann man beides zum Schluß noch einmal, z.B. auf einem Drehdorn plan überdrehen. Man erkennt dann die Manipulation nicht. Auf diese Weise habe ich auch schon Zahnbögen, wie man sie oft bei den Lafetten von Geschützen oder großen Scheinwerfern zur Höheneinstellung findet, modelliert (Foto 2 , 3 , 4 , diese Zahnbögen wurden allerdings nicht in der hier beschriebenen Weise, sondern aus dem Ganzen gemacht). So konnte ich die hier vorhandenen Durchbrüche sehr vorbildgetreu in den Grundkörper einfräsen. Mit Plasterädern geht das selbstverständlich auch so zu machen, vorausgesetzt die Plaste kann man kleben. Oder ich klebe einen Zähnestreifen aus Plaste auf ein Metallrad. Foto 6 zeigt eines der eben behandelten Zahnsegmente eingebaut in ein 1:50-Geschützmodell 40-mm-BOFORS Mk1.

Wenn man geschickt arbeitet, kann man in der eben besprochenen Weise auch größere oder kleinere Zahnräder herstellen, welche in einem Getriebe richtig arbeiten sollen. Das Problem wäre die Stoßstelle, damit hier die richtige Breite der Zahnlücke entsteht. In meiner Abb. 23 habe ich vergrößert aufgezeichnet, wie das aussehen muß. Im Bereich der Stoßstellen-Zahnlücke ist der „Blechstreifen“ ganz weggenommen (a). Ein möglichst großes Rad mit vielen Zähnen, am besten aber eine Zahnstange, wird zum „Eingriff“ gebracht und in diesem Zustand der Zähnestreifen an den Radkörper gelötet. Wenn man mit Lötsäure arbeitet, muß man dabei peinlichst darauf achten, daß das zweite Rad nicht mit angelötet wird. Ich würde beide Lötflächen nur ganz leicht verzinnen, damit beim eigentlichen Löten erstens Lötsäure nicht mehr nötig ist und zweitens die Lötstelle in einiger Entfernung vom Berührungspunkt der beiden Räder nur auf Löttemperatur erhitzt (kleiner Propangas-Brenner) werden muß. Selbstverständlich kann ich aus einem Zahnrad mit 150 Zähnen kein Ritzel von 15 Zähnen machen. Das würde nicht gut aussehen, weil die Zahnformen bei verschiedenen Zähnezahlen doch anders sind. Nicht umsonst hat ein Modul-Fräsersatz acht verschiedene Zahnform-Fräser.

Bleibt uns noch über die Modelldarstellung von Schneckenrad-Getrieben zu reden. Solche findet man oft z.B. bei den Dreheinrichtungen von älteren Schiffsgeschützen. Auch hier trifft zu: man sollte kleine Getriebe sammeln, dabei darauf achten, daß das Schneckenrad und die zugehörige Schnecke beieinander bleiben. Man soll aber auch hier nicht darauf hoffen, daß man zufällig ein genau passendes Getriebe findet. Was ich bei den Stirnzahnrädern erklärt habe, kann man auch für Schneckenräder anwenden. Man kann die charakteristische Zahnung von einem Schneckenrad „bergen“ und auf einem ähnlich großen Eigenbau-Grundkörper befestigen. Die Zahnung ist besonders bei größeren Schneckenrädern gerundet eingefräst (R bei Abb. 24 ). Diese Rundung entspricht meist in etwa dem Außen-Ø der Schnecke (f). Deshalb kann man ein Schneckenrad nicht so großzügig ausdrehen, wie wir das bei den Zahnrädern gesehen hatten (vgl. Abb. 21). Der bleibende Zahnrand ist daher nicht so biegsam und die Durchmesser-Unterschiede sollten klein bleiben.

Bevor ich einen Vorschlag zur Imitation von Schneckengetrieben anspreche, möchte ich das normale Aussehen eines solchen bei Abb. 24 erklären. Das Zahnungsteil am Schneckenrad ist meist recht breit (a). Deshalb haben solche Räder fast immer Erleichterungsausnehmungen (b). Die Außenränder sind oft abgeschrägt (c). Der Grund der Zähne und damit auch die Zahnflanken sind, wie erwähnt, gerundet (R). Auch die Außenfläche ist meistens mit r gerundet. Diese Rundung entspricht dem „Kern-Ø“ (e) der Schnecke. Die Schnecke selbst ist oft sehr kurz (Maß d) und sieht ähnlich wie ein Trapezgewinde mit besonders kleinem Kern-Ø aus. Ähnlich wie ein Gewindezapfen hat auch die Schnecke eine „Gewindefase“ (g). Es gibt Schnecken mit „Links- und Rechtsgewinde“. Dargestellt ist eine rechtsgängige Schnecke. Die Schnecke muß auf der Mitte vom Schneckenrad sitzen. Die Berechnung von Schneckenrädern kann man ähnlich machen, wie oben bei den Stirnzahnrädern erklärt. Die für das Schneckenrad errechnete Teilung (t) ist gleichzeitig die Steigung der Schnecke.

Es gibt auch Schneckenräder zur Übertragung kleinerer Kräfte, welche keine gerundet eingefrästen Zähne haben. Diese sehen dann so ähnlich wie schrägverzahnte Stirnzahnräder aus. Daher mein erster Tipp: verwenden Sie zur Darstellung ein Schräg-Zahnrad (oder fertigen Sie sich ein solches), wenn der Winkel der Zahnstellung nicht zu groß ist. Die Schnecke drehen Sie aus einem passenden Gewindestück einer Schraube mit Normalgewinde. Wenn Sie dann am Schneckenrad noch die Schrägen (c in Abb. 24) andrehen, sieht das Ganze täuschend echt aus.

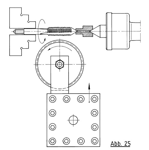
Apropos Normalgewinde, ich habe schon ein Schneckenrad selbst gefräst – mit dem dritten Gang (auch Fertigschneider genannt) eines dreiteiligen (oder zweiten Gang eines zweiteiligen!) Gewindebohrer-Satzes (Foto 5 ). Den Schneckenrad-Grundkörper habe ich vorgedreht. Auch die Rundung (R in Abb. 24) und die beiden Schrägen (c) werden dabei schon ein- und angedreht. Dieser Rohling wird liegend, drehbar und in Höhe der Arbeitsspindelmitte in einer kräftigen Gabel-Haltevorrichtung im Stahlhalter der Drehmaschine gespannt; im Backenfutter am Ende eines längeren und ebenfalls kräftigen Dorns der besagte Gewindebohrer. Damit dieser durch die ungewöhnliche Arbeitsweise (abnormer seitlicher Druck) nicht brechen kann, wird er mit einer Spitze oder Hohlspitze (viele kleinere Gewindebohrer haben am Ende keine Zentrierbohrung, sondern eine angeschliffene 60°-Spitze) gehalten. Abb. 25 zeigt, wovon ich rede. Die Körnerspitze sollte jedoch wesentlich länger, als in der Abbildung zu sehen, in den schraffierten Druckkörper hineinreichen!

Die Arbeitsspindel läßt man nicht zu schnell drehen. Dann wird der Quersupport mit der Gabel langsam in Richtung Gewindebohrer gefahren. Sobald der Gewindebohrer anschneidet, beginnt sich das Schneckenrad zu drehen, die Zähne werden eingefräst. Ist eine gewisse Tiefe erreicht, so stellt sich meist von selbst eine Teilung auf dem Schneckenrad ein, welche der Steigung vom Gewindebohrer entspricht. Man sieht recht gut, wenn die Zähne voll ausgeschnitten sind. Wenn die Bohrung (h in Abb. 24) im Schneckenrad zu zierlich ist, kann man sie ja für den „Kraftakt“ Zähnefräsen zuerst etwas größer machen und anschließend ausbüchsen. Hier stimmt es nun ganz genau, wenn die Schnecke aus dem Gewinde besteht, dessen Fertigschneider ich verwendet habe. Weil eine normale Schnecke ja ein „Trapezgewinde“ ist, wäre es sinnvoll, wenn man nicht den Fertigschneider verwendet, sondern den zweiten Gang eines dreiteiligen Bohrersatzes. Dazu müßte man für ein besonders gutes Aussehen das Spitzgewinde leicht überdrehen, damit es mehr wie ein Trapezgewinde aussieht. Und noch ein Gedanke: fertigen Sie das Schneckenrad aus Plaste oder Plexiglas. Dann wird der Bohrer nicht so hoch auf Bruch belastet.

Noch ein Wort zu schrägverzahnten Stirnzahnrädern. Um sie zu fräsen, muß man einfach nur das Teilgerät entsprechend schräg im Maschinenschraubstock spannen (a in Abb. 8).

Und noch ein interessantes Beispiel aus meiner Modellbaupraxis: Beim Foto 6 liegen rechts zwei mit dem Laserstrahl (Laserstrahl-Schneiden ist 100 x besser als Ätzen, denn dabei entstehen senkrechte Kanten!) geschnittene Teile für zwei Zahnsegmente. Ich habe eine Zentrierscheibe aus Alu gedreht und die Teile mit den gleichen 2-mm-Mittenbohrungen aufgesteckt und so zusammengelötet (links im Bild). Nach Foto 7 habe ich einen Spanndorn gedreht. Er hat vorn einen 2-mm-Zentrierzapfen mit M2-Gewinde. An einer Stelle hat die Anlagefläche eine M2-Bohrung. Die zusammengelöteten Teile werden aufgesteckt, mit einer M2-Mutter auf dem Zentrierzapfen gehalten und gegen Verdrehung mit einer M2-Schraube gesichert. So konnte ich mit einem winzigen Schlagzahnfräser nach Abb. 13 auf einem Teilgerät die Zahnung fräsen. Die Zahnsegmente für Höhenrichtung zweier großer Scheinwerfer war gemacht. Foto 8 zeigt einen Scheinwerfer im Rohbau noch ohne Lackierung und Foto 9 die Scheinwerfer eingebaut auf eine Plattform am vorderen Kamin des Zerstörers.

Jürgen Eichardt

zurück/back  |  home