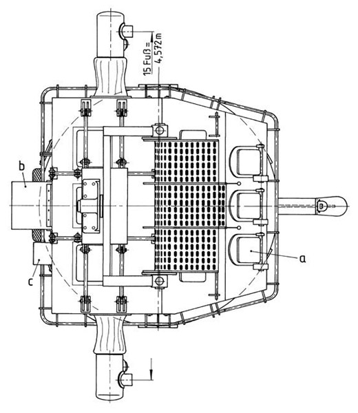
Feuerleitgerät Typ Mk37

gun director type Mk37

Planausschnitt / plan sections

Fotos vom Original, so wie in meiner Zeichnung dargestellt...

...von einer etwas anderen Form an Bord des US-Museums-Schlachtschiffs WISCONSIN in Norfolk...

...und von meinem 1:50-Modell als Einzelteil für mein Modell der USS CASSIN YOUNG

zurück/back